
Заявка на патент, поданная Apple в октябре 2007 года и опубликованная сегодня, показывает, что компания исследует применение композитов из углеродного волокна для внешних корпусов электронных устройств. В частности, заявка на патент относится к использованию слоя «сетки» на внешней поверхности ламината из углеродного волокна, что обеспечивает «улучшенную косметическую поверхность».
В обосновании заявки Apple указывает на недостатки внешнего вида типичных композитных материалов из углеродного волокна:
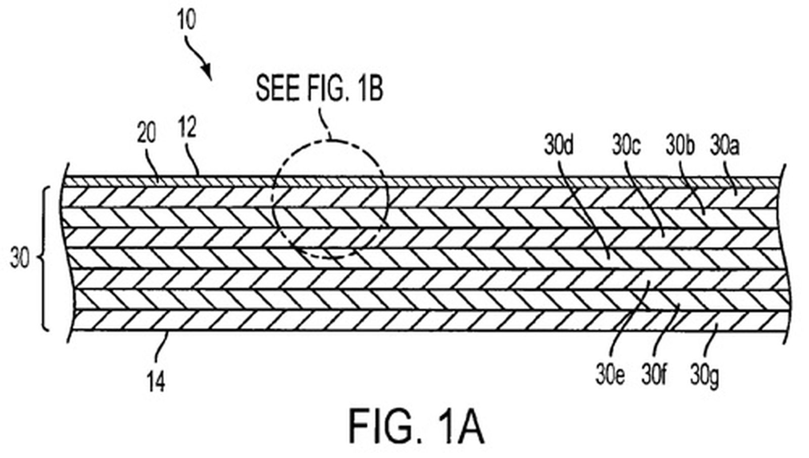
Несмотря на многочисленные преимущества композитов из углеродного волокна, такие композиты обычно черные, и углеродные волокна обычно видны на поверхности композита. Кроме того, волокна (будь то однонаправленная, тканая или нетканая основа) обычно различаются по своей конструкции и, следовательно, по своему поверхностному представлению. В результате получаемый композит из углеродного волокна может иметь косметические дефекты, снижающие эстетическую привлекательность сформированного из него изделия. Более того, композиты из углеродного волокна, будучи часто черными, обеспечивают узкий диапазон внешнего вида поверхности для формованного изделия и поэтому могут придавать «уставший», неинтересный вид.
Настойчивость Apple в отношении эстетического дизайна, по-видимому, привела компанию к сосредоточению усилий на улучшении визуальной привлекательности таких композитов из углеродного волокна, которые обладают значительным потенциалом для дизайна ноутбуков благодаря своей прочности и легкому весу.
Согласно слуху от ноября 2008 года, Apple изучала возможность замены нижней крышки MacBook Air композитом из углеродного волокна, чтобы снизить общий вес устройства примерно на четверть фунта.








