
Емкостные сенсорные панели с проецированием обычно производятся путем размещения сенсоров поверх панели, а затем стеклянной крышки поверх сенсоров. Традиционный метод не только дорогостоящий и сложный, но и влияет на яркость дисплея.
По слухам, новый iMac будет иметь хороший вертикальный и горизонтальный угол обзора, а его емкостная сенсорная панель с проецированием будет использовать решение «одно стекло», которое интегрирует сенсор и стеклянную крышку, чтобы уменьшить толщину и вес.
Слухи о iMac с сенсорным экраном появились в январе, с заявлениями о 22-дюймовой модели, которая должна была дебютировать где-то в 2010 году. Второй слух распространился в июне, утверждая, что Apple проведет специальное мероприятие, чтобы представить iMac с сенсорным управлением, способный работать как под Mac OS X, так и под iOS, в течение следующих двух месяцев, хотя это мероприятие, очевидно, не состоялось.
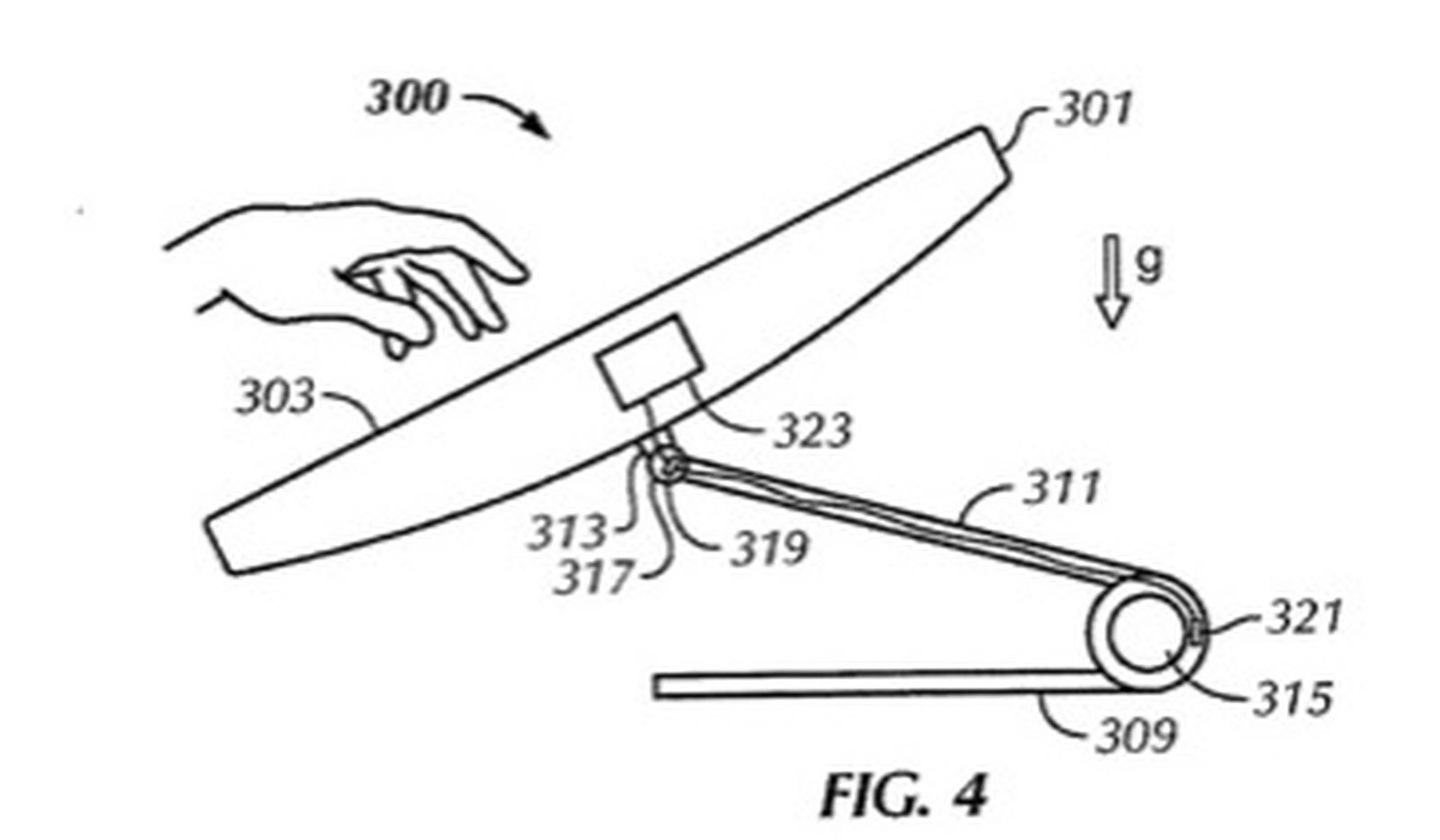
Недавно раскрытая заявка на патент также подогрела слухи своим обсуждением того, как настольный компьютер может использовать физические шарниры и акселерометры для перехода от традиционной настольной установки, управляемой мышью, к более горизонтальной, удобной для прикосновений ориентации.
Учитывая заявления отчета о том, что Apple только сейчас получает образцы сенсорных панелей, которые будут использоваться в таком устройстве, крайне маловероятно, что Apple сможет выпустить новый iMac в 2010 году, как это ранее предполагалось. Однако это указывало бы на прогресс в направлении потенциального выпуска в 2011 году.








